Lexus NX: All Door Entry Lock/Unlock Functions and Wireless Functions do not Operate

DESCRIPTION

If the entry lock and wireless lock operations cannot be performed, there may be door control receiver malfunctions, wave interference or problems in the communication which is used for the entry and wireless function between the door control receiver and certification ECU (smart key ECU assembly).

WIRING DIAGRAM

CAUTION / NOTICE / HINT

NOTICE:

  • The smart access system with push-button start (for Entry Function) uses the LIN communication system and CAN communication system. Inspect the communication function by following How to Proceed with Troubleshooting. Troubleshoot the smart access system with push-button start (for Entry Function) after confirming that the communication systems are functioning properly.

    Click here

  • When using the Techstream with the power switch off, connect the Techstream to the DLC3 and turn a courtesy light switch on and off at intervals of 1.5 seconds or less until communication between the Techstream and the vehicle begins. Then select the vehicle type under manual mode and enter the following menus: Body Electrical / Smart Access. While using the Techstream, periodically turn a courtesy light switch on and off at intervals of 1.5 seconds or less to maintain communication between the Techstream and the vehicle.
  • Check that there are no electrical key transmitter sub-assemblies in the vehicle.
  • Before performing the inspection, check that DTC B1242 (wireless door lock control) is not output.

    Click here

  • Inspect the fuses for circuits related to this system before performing the following procedure.
  • Before replacing the certification ECU (smart key ECU assembly) or main body ECU (multiplex network body ECU), refer to smart access system with push-button start (for Entry Function) Precaution.

    Click here

  • After repair, confirm that no DTCs are output by performing "DTC Output Confirmation Operation".
  • When replacing the electrical key & TPMS receiver assembly, read the transmitter IDs (tire pressure warning system) stored in the old ECU using the Techstream and write them down before removal.

    Click here

  • It is necessary to perform initialization (Click here ) after registration (Click here ) of the transmitter IDs into the electrical key & TPMS receiver assembly if the electrical key & TPMS receiver assembly has been replaced.

PROCEDURE

1.

INSPECT AUXILIARY BATTERY VOLTAGE

(a) Measure the voltage of the auxiliary battery with the power switch off.

Standard voltage:

11 to 14 V

HINT:

It may be possible to tell whether the auxiliary battery is discharged by operating the horn.

If the voltage is below 11 V, recharge or replace the auxiliary battery before proceeding to the next step.

NEXT

2.

CHECK FOR DTC

(a) Open the driver door using the mechanical key built into the electrical key transmitter sub-assembly.

(b) Check for DTCs.

Body Electrical > Smart Access > Trouble Codes

Result

Proceed to

DTCs are not output

A

DTCs are output

B

B

GO TO DIAGNOSTIC TROUBLE CODE CHART

A

3.

CHECK DOOR AJAR WARNING

(a) When the doors are locked by operating the entry lock function with all doors closed, check that the door ajar warning operates.

HINT:

Warning function (door ajar warning)

Click here

Result

Proceed to

The wireless buzzer does not sound

A

The wireless buzzer sounds

B

B

GO TO LIGHTING SYSTEM (Proceed to Door Courtesy Switch Circuit)

A

4.

CHECK POWER DOOR LOCK CONTROL SYSTEM

(a) When the door control switch on the multiplex network master switch assembly is operated, check that the doors unlock and lock according to the switch operation.

Click here

Result

Proceed to

Power door lock function operates normally

A

Power door lock function does not operate normally

B

B

GO TO POWER DOOR LOCK CONTROL SYSTEM

A

5.

CHECK KEY DIAGNOSTIC MODE

(a) Check the following antennas in key diagnostic mode.

Body Electrical > Smart Access > Utility

Tester Display

Communication Check(Key Diag Mode)

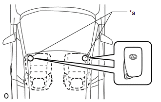
(1) Check the electrical key antenna (for driver door):

When the electrical key transmitter sub-assembly is brought within 0.7 to 1 m (2.30 to 3.28 ft.) of the front door outside handle assembly (for driver door), check that the wireless buzzer sounds.

HINT:

  • Select either channel 1 or channel 2 and inspect key diagnostic mode for each channel.
  • If the buzzer sounds with [CH1] displayed but not with [CH2], the electrical key transmitter sub-assembly cannot be detected by channel 2 due to a malfunction, such as wave interference.

*a

0.7 to 1 m (2.30 to 3.28 ft.)

(2) Check the electrical key antenna (for front passenger door):

When the electrical key transmitter sub-assembly is brought within 0.7 to 1 m (2.30 to 3.28 ft.) of the front door outside handle assembly (for front passenger door), check that the wireless buzzer sounds.

HINT:

  • Select either channel 1 or channel 2 and inspect key diagnostic mode for each channel.
  • If the buzzer sounds with [CH1] displayed but not with [CH2], the electrical key transmitter sub-assembly cannot be detected by channel 2 due to a malfunction, such as wave interference.

*a

0.7 to 1 m (2.30 to 3.28 ft.)

(3) Check the electrical key antenna (for rear door (for driver side)):

When the electrical key transmitter sub-assembly is brought within 0.7 to 1 m (2.30 to 3.28 ft.) of the rear door outside handle assembly (for driver side), check that the wireless buzzer sounds.

HINT:

  • Select either channel 1 or channel 2 and inspect key diagnostic mode for each channel.
  • If the buzzer sounds with [CH1] displayed but not with [CH2], the electrical key transmitter sub-assembly cannot be detected by channel 2 due to a malfunction, such as wave interference.

*a

0.7 to 1 m (2.30 to 3.28 ft.)

(4) Check the electrical key antenna (for rear door (for front passenger side)):

When the electrical key transmitter sub-assembly is brought within 0.7 to 1 m (2.30 to 3.28 ft.) of the rear door outside handle assembly (for front passenger side), check that the wireless buzzer sounds.

HINT:

  • Select either channel 1 or channel 2 and inspect key diagnostic mode for each channel.
  • If the buzzer sounds with [CH1] displayed but not with [CH2], the electrical key transmitter sub-assembly cannot be detected by channel 2 due to a malfunction, such as wave interference.

*a

0.7 to 1 m (2.30 to 3.28 ft.)

(5) Check the No. 1 indoor electrical key antenna assembly (front floor):

When the electrical key transmitter sub-assembly is at either inspection point, check that the wireless buzzer sounds.

HINT:

  • Select either channel 1 or channel 2 and inspect key diagnostic mode for each channel.
  • If the buzzer sounds with [CH1] displayed but not with [CH2], the electrical key transmitter sub-assembly cannot be detected by channel 2 due to a malfunction, such as wave interference.

*a

Inspection Point

(6) Check the No. 2 indoor electrical key antenna assembly (rear floor):

When the electrical key transmitter sub-assembly is at either inspection point, check that the wireless buzzer sounds.

HINT:

  • Select either channel 1 or channel 2 and inspect key diagnostic mode for each channel.
  • If the buzzer sounds with [CH1] displayed but not with [CH2], the electrical key transmitter sub-assembly cannot be detected by channel 2 due to a malfunction, such as wave interference.

*a

Inspection Point

(7) Check the No. 3 indoor electrical key antenna assembly (inside luggage):

When the electrical key transmitter sub-assembly is at either inspection point, check that the wireless buzzer sounds.

HINT:

  • Select either channel 1 or channel 2 and inspect key diagnostic mode for each channel.
  • If the buzzer sounds with [CH1] displayed but not with [CH2], the electrical key transmitter sub-assembly cannot be detected by channel 2 due to a malfunction, such as wave interference.

*a

Inspection Point

(8) Check the electrical key antenna (outside luggage compartment):

When the electrical key transmitter sub-assembly is brought within 0.7 to 1 m (2.30 to 3.28 ft.) of the electrical key antenna (outside luggage compartment), check that the wireless buzzer sounds.

HINT:

  • Select either channel 1 or channel 2 and inspect key diagnostic mode for each channel.
  • If the buzzer sounds with [CH1] displayed but not with [CH2], the electrical key transmitter sub-assembly cannot be detected by channel 2 due to a malfunction, such as wave interference.

OK:

Wireless buzzer sounds.

*a

0.7 to 1 m (2.30 to 3.28 ft.)

Result

Proceed to

Diagnostic mode inspections fail for both channels

A

Diagnostic mode inspections succeed for both channels

B

Diagnostic mode inspection succeeds for only one of the channels

C

B

GO TO STEP 18

C

GO TO STEP 27

A

6.

CHECK WAVE ENVIRONMENT

(a) Bring the electrical key transmitter sub-assembly that was checked first near the door control receiver and select the failed channel (the channel in which the buzzer did not sound) to recheck key diagnostic mode.

Click here

HINT:

  • When the electrical key transmitter sub-assembly is brought near the door control receiver, the possibility of wave interference decreases, and it can be determined if wave interference is causing the problem symptom.
  • If the inspection result is that the problem only occurs in certain locations or at certain times of day, the possibility of wave interference is high. Also, added vehicle components may cause wave interference. If installed, remove them and perform the operation check.
  • There may be wave interference if the vehicle is near broadcasting antennas, large video displays, wireless garage door opener systems, wireless security cameras, home security systems, etc. In this case, move the vehicle to a different location and check if there is any improvement.
  • If a tool for checking radio waves, such as a signal strength meter, is available, move around the area while observing both the LF band (used by the vehicle antenna to form the detection area) and RF band (used by the electrical key transmitter sub-assembly for transmission) to check for locations where there is wave interference.

Result

Proceed to

The wireless buzzer does not sound

A

The wireless buzzer sounds

B

B

AFFECTED BY WAVE INTERFERENCE

A

7.

CHECK TRANSMITTER BATTERY

(a) Check the transmitter battery level of the electrical key transmitter sub-assembly that was checked first.

(1) Press and hold the lock switch of the transmitter for 5 seconds and check the number of times that the transmitter LED illuminates.

HINT:

  • The electrical key transmitter sub-assembly sends voltage information to the certification ECU (smart key ECU assembly) when it is being used. The certification ECU (smart key ECU assembly) displays "Yes" for the "Key Low Battery" item of the Data List when this voltage information indicates 2.2 V or less.

    Click here

  • Even if the transmitter battery is depleted, it is still possible to start the hybrid control system by holding the electrical key transmitter sub-assembly near the power switch, depressing the brake pedal and pressing the power switch.

Result

Proceed to

Transmitter LED illuminates 3 times or more when switch is pressed and held

A

Transmitter LED does not illuminate when switch is pressed and held

B

Transmitter LED illuminates once or twice but not a third time

C

B

GO TO STEP 17

C

REPLACE TRANSMITTER BATTERY

A

8.

CHECK ELECTRICAL KEY TRANSMITTER SUB-ASSEMBLY

(a) Check if there is another electrical key transmitter sub-assembly available that is already registered to the vehicle.

Result

Proceed to

Another registered electrical key transmitter sub-assembly is not available

A

Another registered electrical key transmitter sub-assembly is available

B

B

GO TO STEP 10

A

9.

ELECTRICAL KEY TRANSMITTER SUB-ASSEMBLY REGISTRATION (NEW ELECTRICAL KEY TRANSMITTER SUB-ASSEMBLY)

(a) Register a new electrical key transmitter sub-assembly.

Click here

NEXT

10.

CHECK ENTRY LOCK OPERATION

(a) Using another registered electrical key transmitter sub-assembly, check that the entry lock and unlock functions operate.

Result

Proceed to

Entry function does not operate normally

A

Entry function operates normally

B

B

END (ELECTRICAL KEY TRANSMITTER SUB-ASSEMBLY WAS DEFECTIVE)

A

11.

CHECK HARNESS AND CONNECTOR (CERTIFICATION ECU (SMART KEY ECU ASSEMBLY) - DOOR CONTROL RECEIVER AND BODY GROUND)

(a) Disconnect the I52 certification ECU (smart key ECU assembly) connector.

(b) Disconnect the P11 door control receiver connector.

(c) Measure the resistance according to the value(s) in the table below.

Standard Resistance:

Tester Connection

Condition

Specified Condition

I52-18 (RCO) - P11-10 (+5)

Always

Below 1 Ω

I52-20 (RDAM) - P11-9 (DATA)

Always

Below 1 Ω

I52-19 (CSEL) - P11-6 (CSEL)

Always

Below 1 Ω

P11-12 (GND) - Body ground

Always

Below 1 Ω

I52-18 (RCO) or P11-10 (+5) - Body ground

Always

10 kΩ or higher

I52-20 (RDAM) or P11-9 (DATA) - Body ground

Always

10 kΩ or higher

I52-19 (CSEL) or P11-6 (CSEL) - Body ground

Always

10 kΩ or higher

NG

REPAIR OR REPLACE HARNESS OR CONNECTOR

OK

12.

CHECK ENTRY LOCK OPERATION

(a) Connect all connectors and check that the entry lock and unlock functions operate.

Click here

Result

Proceed to

Entry function does not operate normally

A

Entry function operates normally

B

B

END (CONNECTOR WAS NOT CONNECTED SECURELY)

A

13.

CHECK DOOR CONTROL RECEIVER

(a) Measure the resistance according to the value(s) in the table below.

Standard Resistance:

Tester Connection

Condition

Specified Condition

P11-12 (GND) - Body ground

Always

Below 1 Ω

*a

Component with harness connected

(Door Control Receiver)

(b) Measure the voltage according to the value(s) in the table below.

Standard Voltage:

Tester Connection

Condition

Specified Condition

P11-9 (DATA) - P11-12 (GND)

Procedure:

  1. Power switch off
  2. All doors closed
  3. All doors locked
  4. Lock or unlock switch of electrical key transmitter sub-assembly pressed

Below 1 V → Pulse generation

(See waveform 1)

(c) Using an oscilloscope, check waveform 1.

NOTICE:

The oscilloscope waveform shown in the illustration is an example for reference only. Noise, chattering, etc. are not shown.

Waveform 1 (Reference)

Item

Content

Tester Connection

P11-9 (DATA) - P11-12 (GND)

Tool Setting

5 V/DIV., 500 ms/DIV.

Condition

Procedure:

  1. Power switch off
  2. All doors closed
  3. All doors locked
  4. Lock or unlock switch of electrical key transmitter sub-assembly pressed

*a

Before lock or unlock switch of electrical key transmitter sub-assembly pressed

*b

After lock or unlock switch of electrical key transmitter sub-assembly pressed

NG

REPLACE DOOR CONTROL RECEIVER

OK

14.

CHECK CERTIFICATION ECU (SMART KEY ECU ASSEMBLY)

(a) Measure the voltage according to the value(s) in the table below.

Standard Voltage:

Tester Connection

Condition

Specified Condition

P11-1 (IG) - P11-12 (GND)

Power switch on (IG)

10 to 16 V

P11-10 (+5) - P11-12 (GND)

Procedure:

  1. Power switch off
  2. Electrical key transmitter sub-assembly switch not pressed → pressed

Below 1 V → 4.5 to 6.0 V → Below 1 V

P11-6 (CSEL) - P11-12 (GND)

Procedure:

  1. Power switch off
  2. All doors closed

Below 1 V → Pulse generation

*a

Component with harness connected

(Door Control Receiver)

NG

REPLACE CERTIFICATION ECU (SMART KEY ECU ASSEMBLY)

OK

15.

REPLACE CERTIFICATION ECU (SMART KEY ECU ASSEMBLY)

(a) Replace the certification ECU (smart key ECU assembly) and perform registration again.

HINT:

  • For replacement.

    Click here

  • For registration.

    Click here

NEXT

16.

CHECK WIRELESS DOOR LOCK CONTROL SYSTEM

(a) Check that the wireless door lock functions operate normally.

Click here

Result

Proceed to

Wireless door lock function operates normally

A

Wireless door lock function does not operate normally

B

A

END (CERTIFICATION ECU (SMART KEY ECU ASSEMBLY) WAS DEFECTIVE)

B

REPLACE MAIN BODY ECU (MULTIPLEX NETWORK BODY ECU)

17.

INSPECT TRANSMITTER BATTERY

(a) Inspect the transmitter battery.

Click here

NOTICE:

Do not wrap the lead wire around a terminal, wedge it between terminals, or solder it. The terminal may be deformed or damaged, and the transmitter battery will not be able to be installed correctly.

OK

REPLACE ELECTRICAL KEY TRANSMITTER SUB-ASSEMBLY

NG

REPLACE TRANSMITTER BATTERY

18.

PERFORM REGISTRATION

(a) Perform registration of the B code.

HINT:

Refer to Registration (ECU CODE REGISTRATION).

Click here

NEXT

19.

CHECK ENTRY LOCK OPERATION

(a) After B code registration is complete, check that the entry lock and unlock functions operate.

Click here

Result

Proceed to

Entry function does not operate normally

A

Entry function operates normally

B

B

END (B CODE REGISTRATION FAILED)

A

20.

READ VALUE USING TECHSTREAM (B CODE)

(a) Connect the Techstream to the DLC3.

(b) Turn the power switch on (IG).

(c) Turn the Techstream on.

(d) Enter the following menus: Body Electrical / Smart Access / Data List.

(e) Read the Data List according to the display on the Techstream.

Body Electrical > Smart Access > Data List

Tester Display

Measurement Item

Range

Normal Condition

Diagnostic Note

B Code

B code registration status

Regd or No Regd

Regd: B code registered correctly

No Regd: B code not registered correctly

-

Body Electrical > Smart Access > Data List

Tester Display

B Code

Result

Proceed to

"No Regd" is displayed on the Techstream

A

"Regd" is displayed on the Techstream

B

B

REPLACE MAIN BODY ECU (MULTIPLEX NETWORK BODY ECU)

A

21.

READ VALUE USING TECHSTREAM (B CODE DIFFERENCE)

(a) Connect the Techstream to the DLC3.

(b) Turn the power switch on (IG).

(c) Turn the Techstream on.

(d) Enter the following menus: Body Electrical / Smart Access / Data List.

(e) Read the Data List according to the display on the Techstream.

Body Electrical > Smart Access > Data List

Tester Display

Measurement Item

Range

Normal Condition

Diagnostic Note

B Code Difference

B code mismatch

Yes or No

Yes: Communication malfunction

No: Communication normal

-

Body Electrical > Smart Access > Data List

Tester Display

B Code Difference

Result

Proceed to

"No" is displayed on the Techstream

A

"Yes" is displayed on the Techstream

B

B

REPLACE CERTIFICATION ECU (SMART KEY ECU ASSEMBLY)

A

22.

CHECK CERTIFICATION ECU (SMART KEY ECU ASSEMBLY)

(a) Measure the voltage while checking the Data List on the Techstream.

(1) Connect the Techstream to the DLC3.

(2) Turn the power switch on (IG).

(3) Turn the Techstream on.

(4) Enter the following menus: Body Electrical / Power Source Control / Data List.

(5) Read the Data List according to the display on the Techstream.

*a

Component with harness connected

(Certification ECU (Smart Key ECU Assembly))

-

-

Body Electrical > Power Source Control > Data List

Tester Display

Measurement Item

Range

Normal Condition

Diagnostic Note

Power Supply Condition

Power supply state

All OFF, ACC ON, IG ON or ST ON

All OFF: Power switch off (ACC and IG)

ACC ON: Power switch on (ACC)

IG ON: Power switch on (IG)

ST ON: Sending hybrid control system start request signal

-

Body Electrical > Power Source Control > Data List

Tester Display

Power Supply Condition

Standard Voltage:

Tester Connection

Switch Condition

Specified Condition

I51-3 (IG1D) - Body ground

Power switch off

Below 1 V

Power switch on (ACC)

Below 1 V

Power switch on (IG)

9 V or higher

I53-9 (ACCD) - Body ground

Power switch off

Below 1 V

Power switch on (ACC)

9 V or higher

Power switch on (IG)

9 V or higher

NG

REPLACE CERTIFICATION ECU (SMART KEY ECU ASSEMBLY)

OK

23.

READ VALUE USING TECHSTREAM (ACC SW, IG SW)

(a) Connect the Techstream to the DLC3.

(b) Turn the power switch on (IG).

(c) Turn the Techstream on.

(d) Enter the following menus: Body Electrical / Main Body / Data List.

(e) Read the Data List according to the display on the Techstream.

Body Electrical > Main Body > Data List

Tester Display

Measurement Item

Range

Normal Condition

Diagnostic Note

ACC SW

Power switch status

ON or OFF

ON: Power switch on (ACC)

OFF: Power switch off

"ON" is displayed even though the power switch is on (IG).

IG SW

Power switch status

ON or OFF

ON: Power switch on (IG)

OFF: Power switch off

"OFF" is displayed even though the power switch is on (ACC).

Body Electrical > Main Body > Data List

Tester Display

ACC SW

IG SW

HINT:

If the certification ECU (smart key ECU assembly) misjudges for any reason that the power switch is on (IG) even though the power switch is off, the entry lock and unlock functions stop.

Result

Proceed to

The main body ECU (multiplex network body ECU) judges properly that the power source is off when the power switch is off

A

The main body ECU (multiplex network body ECU) does not judge properly that the power source is off when the power switch is off

B

B

TROUBLESHOOT MAIN BODY ECU (MULTIPLEX NETWORK BODY ECU)

A

24.

CHECK ENTRY LOCK OPERATION

(a) Disconnect and reconnect the certification ECU (smart key ECU assembly) connector.

(b) Check that the entry lock and unlock functions operate.

Click here

Result

Proceed to

Entry function does not operate normally

A

Entry function operates normally

B

B

END (CONNECTOR WAS NOT CONNECTED SECURELY)

A

25.

REPLACE CERTIFICATION ECU (SMART KEY ECU ASSEMBLY)

(a) Replace the certification ECU (smart key ECU assembly) with a new one and perform registration again.

HINT:

  • For replacement.

    Click here

  • For registration.

    Click here

NEXT

26.

CHECK WIRELESS DOOR LOCK CONTROL SYSTEM

(a) Check that the wireless door lock functions operate normally.

Click here

Result

Proceed to

Wireless door lock function operates normally

A

Wireless door lock function does not operate normally

B

A

END (CERTIFICATION ECU (SMART KEY ECU ASSEMBLY) WAS DEFECTIVE)

B

REPLACE MAIN BODY ECU (MULTIPLEX NETWORK BODY ECU)

27.

CHECK WAVE ENVIRONMENT

(a) Bring the electrical key transmitter sub-assembly that was checked first near the door control receiver and select the failed channel (the channel in which the buzzer did not sound) to recheck key diagnostic mode.

HINT:

  • When the electrical key transmitter sub-assembly is brought near the door control receiver, the possibility of wave interference decreases, and it can be determined if wave interference is causing the problem symptom.
  • If the inspection result is that the problem only occurs in certain locations or at certain times of day, the possibility of wave interference is high. Also, added vehicle components may cause wave interference. If installed, remove them and perform the operation check.
  • There may be wave interference if the vehicle is near broadcasting antennas, large video displays, wireless garage door opener systems, wireless security cameras, home security systems, etc. In this case, move the vehicle to a different location and check if there is any improvement.
  • If a tool for checking radio waves, such as a signal strength meter, is available, move around the area while observing both the LF band (used by the vehicle antenna to form the detection area) and RF band (used by the electrical key transmitter sub-assembly for transmission) to check for locations where there is wave interference.

Result

Proceed to

The wireless buzzer does not sound

A

The wireless buzzer sounds

B

B

AFFECTED BY WAVE INTERFERENCE

A

28.

CHECK ELECTRICAL KEY TRANSMITTER SUB-ASSEMBLY

(a) Check if there is another electrical key transmitter sub-assembly available that is already registered to the vehicle.

Result

Proceed to

Another registered electrical key transmitter sub-assembly is not available

A

Another registered electrical key transmitter sub-assembly is available

B

B

GO TO STEP 30

A

29.

ELECTRICAL KEY TRANSMITTER SUB-ASSEMBLY REGISTRATION (NEW ELECTRICAL KEY TRANSMITTER SUB-ASSEMBLY)

(a) Register a new electrical key transmitter sub-assembly.

Click here

NEXT

30.

CHECK WAVE ENVIRONMENT

(a) Bring another registered electrical key transmitter sub-assembly near the door control receiver and select the failed channel (the channel in which the buzzer did not sound) to recheck key diagnostic mode.

HINT:

  • When the electrical key transmitter sub-assembly is brought near the door control receiver, the possibility of wave interference decreases, and it can be determined if wave interference is causing the problem symptom.
  • If the inspection result is that the problem only occurs in certain locations or at certain times of day, the possibility of wave interference is high. Also, added vehicle components may cause wave interference. If installed, remove them and perform the operation check.
  • There may be wave interference if the vehicle is near broadcasting antennas, large video displays, wireless garage door opener systems, wireless security cameras, home security systems, etc. In this case, move the vehicle to a different location and check if there is any improvement.
  • If a tool for checking radio waves, such as a signal strength meter, is available, move around the area while observing both the LF band (used by the vehicle antenna to form the detection area) and RF band (used by the electrical key transmitter sub-assembly for transmission) to check for locations where there is wave interference.

Result

Proceed to

The wireless buzzer does not sound

A

The wireless buzzer sounds

B

B

END (ELECTRICAL KEY TRANSMITTER SUB-ASSEMBLY WAS DEFECTIVE)

A

31.

CHECK HARNESS AND CONNECTOR (CERTIFICATION ECU (SMART KEY ECU ASSEMBLY) - DOOR CONTROL RECEIVER)

(a) Disconnect the I52 certification ECU (smart key ECU assembly) connector.

(b) Disconnect the P11 door control receiver connector.

(c) Measure the resistance according to the value(s) in the table below.

Standard Resistance:

Tester Connection

Condition

Specified Condition

I52-19 (CSEL) - P11-6 (CSEL)

Always

Below 1 Ω

I52-19 (CSEL) or P11-6 (CSEL) - Body ground

Always

10 kΩ or higher

NG

REPAIR OR REPLACE HARNESS OR CONNECTOR

OK

32.

CHECK ENTRY LOCK OPERATION

(a) Connect all connectors and check that the entry lock and unlock functions operate.

Click here

Result

Proceed to

Entry function does not operate normally

A

Entry function operates normally

B

B

END (CONNECTOR WAS NOT CONNECTED SECURELY)

A

33.

CHECK CERTIFICATION ECU (SMART KEY ECU ASSEMBLY)

(a) Measure the voltage according to the value(s) in the table below.

Standard Voltage:

Tester Connection

Condition

Specified Condition

P11-6 (CSEL) - P11-12 (GND)

Procedure:

  1. Power switch off
  2. All doors closed

Below 1 V → Pulse generation

*a

Component with harness connected

(Door Control Receiver)

NG

REPLACE CERTIFICATION ECU (SMART KEY ECU ASSEMBLY)

OK

34.

CHECK DOOR CONTROL RECEIVER

(a) Enter key diagnostic mode and select the channel for which the wireless buzzer did not sound.

(b) Measure the voltage according to the value(s) in the table below.

Standard Voltage:

Tester Connection

Condition

Specified Condition

P11-9 (DATA) - P11-12 (GND)

Procedure:

  1. Power switch off
  2. All doors closed
  3. All doors locked
  4. Lock or unlock switch of electrical key transmitter sub-assembly pressed

Below 1 V → Pulse generation

(See waveform 1)

HINT:

Inspection should be performed while the electrical key antenna check in key diagnostic mode is being performed on the failed channel (the channel in which the buzzer did not sound).

*a

Component with harness connected

(Door Control Receiver)

(c) Using an oscilloscope, check waveform 1.

NOTICE:

The oscilloscope waveform shown in the illustration is an example for reference only. Noise, chattering, etc. are not shown.

Waveform 1 (Reference)

Item

Content

Tester Connection

P11-9 (DATA) - P11-12 (GND)

Tool Setting

5 V/DIV., 500 ms/DIV.

Condition

Procedure:

  1. Power switch off
  2. All doors closed
  3. All doors locked
  4. Lock or unlock switch of electrical key transmitter sub-assembly pressed

*a

Before lock or unlock switch of electrical key transmitter sub-assembly pressed

*b

After lock or unlock switch of electrical key transmitter sub-assembly pressed

NG

REPLACE DOOR CONTROL RECEIVER

OK

35.

REPLACE CERTIFICATION ECU (SMART KEY ECU ASSEMBLY)

(a) Replace the certification ECU (smart key ECU assembly) and perform registration again.

HINT:

  • For replacement.

    Click here

  • For registration.

    Click here

NEXT

36.

CHECK WIRELESS DOOR LOCK CONTROL SYSTEM

(a) Check that the wireless door lock functions operate normally.

Click here

Result

Proceed to

Wireless door lock function operates normally

A

Wireless door lock function does not operate normally

B

A

END (CERTIFICATION ECU (SMART KEY ECU ASSEMBLY) WAS DEFECTIVE)

B

REPLACE MAIN BODY ECU (MULTIPLEX NETWORK BODY ECU)

READ NEXT:

 All Door Entry Lock/Unlock Functions do not Operate, but Wireless Functions Operate

DESCRIPTION When the wireless operation can be used to lock and unlock the doors, communication between the door control receiver and certification ECU (smart key ECU assembly) is normal. If the entry

 Driver Side Door Entry Unlock Function does not Operate

DESCRIPTION If the entry unlock function does not operate for the driver door only, but the entry lock function operates, the request code is being transmitted properly from the driver door. In this c

 Front Passenger Side Door Entry Unlock Function does not Operate

DESCRIPTION If the entry unlock function does not operate for the front passenger door only, but the entry lock function operates, the request code is being transmitted properly from the front passeng

SEE MORE:

 Installation

INSTALLATION CAUTION / NOTICE / HINT HINT: Use the same procedure for the RH and LH sides. The procedure described below is for the LH side. PROCEDURE 1. INSTALL FOG LIGHT ASSEMBLY LH (a) Attach the guide. (b) Install the fog light assembly LH with the 2 screws. 2. INSTALL FRONT BUMPER ASSEM

 Start Up Signal Circuit between Radio Receiver Assembly and Navigation ECU

DESCRIPTION This circuit includes the navigation ECU and radio and display receiver assembly. WIRING DIAGRAM PROCEDURE 1. CHECK HARNESS AND CONNECTOR (RADIO RECEIVER ASSEMBLY - NAVIGATION ECU) (a) Disconnect the I153 radio receiver assembly connector. (b) Disconnect the I173 navigation ECU

© 2016-2025 Copyright www.lexunx.com