Lexus NX: Transmitter Battery
			
			
			 Replacement
REPLACEMENT
 PROCEDURE
 1. REMOVE TRANSMITTER BATTERY
   | (a) Push the release hook knob and extract the mechanical key. |  | 
 
   | (b) Using a screwdriver with its tip wrapped in protective tape, remove the transmitter housing cover as shown in the illustration. HINT: Tape the screwdriver tip before use. |  | 
 
   | (c) Using a screwdriver with its tip wrapped in protective tape, remove the transmitter battery holder. HINT: Tape the screwdriver tip before use. |  | 
 
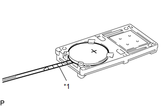
   | (d) Using a screwdriver with its tip wrapped in protective tape, remove the transmitter battery.   NOTICE:   
Do not push the terminals with your finger.
Do not forcibly pry up the transmitter battery. The terminals may be damaged.
Do not touch the transmitter battery with wet hands. Water may cause rust.
Do not touch or move any components inside the transmitter. It may interfere with proper operation.
When replacing the transmitter battery, before starting work, remove static electricity that has built up in the body by touching, for example, the vehicle to prevent the electrical transmitter from being damaged.
 HINT: Tape the screwdriver tip before use. |  | 
 
 2. INSTALL TRANSMITTER BATTERY
   | (a) Install a new transmitter battery (lithium battery: CR2032) with the positive (+) side facing upward as shown in the illustration.   NOTICE:   
Do not bend the transmitter battery electrode during insertion.
Keep the transmitter cover interior free of dust and oil.
When replacing the transmitter battery, before starting work, remove static electricity that has built up in the body by touching, for example, the vehicle to prevent the electrical transmitter from being damaged.
 |  | 
 
   | (b) Install the transmitter battery holder. |  | 
 
   | (c) Install the transmitter housing cover as shown in the illustration. |  | 
 
   | (d) Insert the mechanical key as shown in the illustration. |  | 
 
 (e) Press one of the transmitter switches and check that the LED illuminates.
 OK: 
 Transmitter LED illuminates when switch is pressed.
 3. REMOVE TRANSMITTER (CARD KEY) BATTERY
   | (a) Lightly hold and pull the battery cover out in the direction indicated by the arrow in the illustration. NOTICE: Do not insert a screwdriver, etc. between the case and battery cover and forcefully bend the battery cover. This will deform the battery cover.  HINT:  
If the battery cover is held too firmly, it becomes harder to pull out.
If the cover is slippery and it is difficult to pull it out, use non-slip gloves to pull the cover out.
 |  | 
 
   | (b) Remove the transmitter battery (lithium battery: CR2412). NOTICE: When replacing the transmitter battery, before starting work, remove static electricity that has built up in the body by touching, for example, the vehicle to prevent the electrical transmitter from being damaged. |  | 
 
 4. INSTALL TRANSMITTER (CARD KEY) BATTERY
   | (a) Push in and install the transmitter battery (lithium battery: CR2412) while being careful of the following: 1) the orientation of the battery positive (+) and negative (-) terminals; and 2) being sure to insert the battery between the 2 terminals and deep into the card in the direction indicated by the arrow in the illustration.   NOTICE:   
When replacing the transmitter battery, before starting work, remove static electricity that has built up in the body by touching, for example, the vehicle to prevent the electrical transmitter from being damaged.
Insert the battery so that its positive (+) side is facing the LEXUS mark.
Do not deform the terminals.
If the terminals are dirty, wipe the terminals with a soft cloth before installing the battery.
 HINT: Check if the card terminals are damaged or the card interior has foreign matter. |  | 
 
   | (b) Install the battery cover so that it clips onto the case.   NOTICE:   
Push on the battery cover until its attachment hooks attach securely.
When the battery cover is removed and installed many times, be careful as the cover may become loose.
 |  | 
 
READ NEXT:
	
    ComponentsCOMPONENTS ILLUSTRATION     *1   FRONT FENDER SPLASH SHIELD FRONT LH   *2   WIRELESS DOOR LOCK BUZZER     *3   FRONT SIDE AIR GUIDE SUB-ASSEMBLY LH   *4   FRONT FENDER LINER LH     Installa
   
   
 
	
   PRECAUTION PRECAUTIONS WHEN USING TECHSTREAM (a) When using the Techstream with the vehicle power switch off, connect the Techstream to the DLC3 and turn a courtesy light switch on and off at interval
   
   
 
   SEE MORE:
	
    ComponentsCOMPONENTS ILLUSTRATION     *1   HOOD LOCK ASSEMBLY (ENGINE HOOD COURTESY SWITCH)   *2   RADIATOR SUPPORT OPENING COVER        N*m (kgf*cm, ft.*lbf) : Specified torque      MP grease     RemovalREMOVAL PROCEDURE 1. REMOVE RADIATOR SUPPORT OPENING COVER Click here    2. REMOVE HOOD LOCK AS
   
   
 
	
   ROAD TEST  HINT:  
The dynamic radar cruise control system has 2 cruise control modes: constant speed control mode and vehicle-to-vehicle distance control mode.
 
Vehicle-to-vehicle distance control mode is selected by default when the dynamic radar cruise control system is turned on using the cruis
   
   
 
 
	 
	
	
		
			© 2016-2025 Copyright www.lexunx.com
