DISPOSAL
CAUTION / NOTICE / HINT
CAUTION:
Before performing pre-disposal deployment of any SRS part, review and closely follow all applicable environmental and hazardous material regulations. Pre-disposal deployment may be considered hazardous material treatment.
PROCEDURE
1. PRECAUTION
CAUTION:
HINT:
When scrapping a vehicle equipped with an SRS or disposing of the lower No. 1 instrument panel airbag assembly, be sure to deploy the airbag first in accordance with the procedure described below. If any abnormality occurs with the airbag deployment, contact the Service Dept. of TOYOTA MOTOR SALES, U.S.A., INC.
2. DISPOSE OF LOWER NO. 1 INSTRUMENT PANEL AIRBAG ASSEMBLY (When Installed in Vehicle)
NOTICE:
HINT:
Prepare a battery as the power source to deploy the airbag.
| (a) Check the function of SST. Click here  SST: 09082-00700 | 
 | 
(b) Refer to Precaution.
Click here .gif) 
 .gif) 
 
(c) Remove the No. 3 deck board sub-assembly.
Click here .gif) 
 .gif) 
 .gif) 
 .gif) 
 
(d) Remove the rear deck floor box.
Click here .gif) 
 .gif) 
 .gif) 
 .gif) 
 
(e) Remove the deck floor box LH.
Click here .gif) 
 .gif) 
 .gif) 
 .gif) 
 
(f) Disconnect the cable from the auxiliary battery negative (-) terminal.
Click here .gif) 
 .gif) 
 .gif) 
 
CAUTION:
Wait at least 90 seconds after disconnecting the cable from the auxiliary battery negative (-) terminal to disable the SRS system.
(g) Remove the lower No. 1 instrument panel airbag assembly.
Click here .gif) 
 .gif) 
 
(h) Install SST.
CAUTION:
Check that there is no looseness in the lower No. 1 instrument panel airbag assembly.
| (1) Connect the SST connector to the lower No. 1 instrument panel airbag assembly. SST: 09082-00700 SST: 09082-00802 09082-10801 09082-20801 NOTICE: To avoid damaging the SST connector or wire harness, do not lock the secondary lock of the twin lock. | 
 | 
(2) Install the lower No. 1 instrument panel airbag assembly.
Click here .gif) 
 .gif) 
 
| (3) Move SST at least 10 m (32.8 ft.) away from the front side window of the vehicle. | 
 | 
(4) While maintaining sufficient clearance for the SST wire harness in the front side window, close all doors and windows of the vehicle.
NOTICE:
Take care not to damage the SST wire harness.
(5) Connect the red clip of SST to the positive (+) battery terminal and the black clip of SST to the negative (-) battery terminal.
(i) Deploy the airbag.
(1) Check that no one is inside the vehicle or within a 10 m (32.8 ft.) radius of the vehicle.
(2) Press the SST activation switch and deploy the airbag.
CAUTION:
Before deployment, make sure that no one is near the vehicle.
HINT:
The airbag is deployed as the LED of the SST activation switch comes on.
(j) Remove the lower No. 1 instrument panel airbag assembly.
Click here .gif) 
 .gif) 
 
CAUTION:
(k) Place the lower No. 1 instrument panel airbag assembly in a plastic bag, tie it tightly and dispose of it according to local regulations.
3. DISPOSE OF LOWER NO. 1 INSTRUMENT PANEL AIRBAG ASSEMBLY (When not Installed in Vehicle)
NOTICE:
Be sure to observe the following procedure when deploying the airbag.
HINT:
Prepare a battery as the power source to deploy the airbag.
| (a) Check the function of SST. Click here  SST: 09082-00700 | 
 | 
(b) Remove the lower No. 1 instrument panel airbag assembly.
Click here .gif) 
 .gif) 
 
CAUTION:
(c) Using braided wire, tie down the lower No. 1 instrument panel airbag assembly to an unneeded tire.
Wire:
Cross-sectional area of stripped wire
1.25 mm2 (0.0019 in.2) or more
CAUTION:
If the wire harness is too thin or an alternative object is used to tie down the lower No. 1 instrument panel airbag assembly, it may snap when the airbag is deployed. Always use a wire for vehicle use with an area of at least 1.25 mm2 (0.0019 in.2).
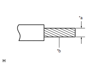
.png) 
 | *a | Wire Diameter | 
| *b | Stripped Wire Section | 
HINT:
To calculate the area of the cross-sectional area of stripped wire:
Area = 3.14 x (Diameter)2 / 4
(1) Position the lower No. 1 instrument panel airbag assembly inside the tire with the airbag deployment side facing inside.
Minimum tire size:
Must exceed the following dimensions
Width
185 mm (7.28 in.)
Inner diameter
360 mm (1.18 ft.)
CAUTION:
NOTICE:
The tires may be damaged by the airbag deployment, so use unneeded tires.
 
 | *a | Inner Diameter | *b | Width | 
| *c | Deployment Side | - | - | 
(d) Install SST.
| (1) After connecting the following SST to each other, connect them to the lower No. 1 instrument panel airbag assembly. SST: 09082-00802 09082-10801 09082-20801 | 
 | 
(e) Place the tires.
| (1) Place at least 2 tires under the tire to which the lower No. 1 instrument panel airbag assembly is tied. | 
 | 
(2) Place at least 2 tires onto the tire to which the lower No. 1 instrument panel airbag assembly is tied. The top tire should have a wheel installed.
NOTICE:
| (3) Tie the tires together with the 2 wires. CAUTION: Make sure that the wires are tight. Looseness in the wires results in the tires breaking loose when the airbag is deployed. | 
 | 
(f) Install SST.
| (1) Connect the SST connector. SST: 09082-00700 NOTICE: To avoid damaging the SST connector or wire harness, do not lock the secondary lock of the twin lock. Also, secure some slack for the SST wire harness inside the tire. | 
 | 
(2) Move SST at least 10 m (32.8 ft.) away from the airbag tied down to the tire.
(g) Deploy the airbag.
(1) Connect the red clip of SST to the positive (+) battery terminal and the black clip of SST to the negative (-) battery terminal.
(2) Check that no one is within a 10 m (32.8 ft.) radius of the wheel to which the lower No. 1 instrument panel airbag assembly is tied.
(3) Press the SST activation switch and deploy the airbag.
CAUTION:
Before deployment, make sure that no one is near the airbag.
HINT:
The airbag is deployed as the LED of the SST activation switch comes on.
(h) Dispose of the lower No. 1 instrument panel airbag assembly.
CAUTION:
(1) Remove the lower No. 1 instrument panel airbag assembly from the wheel.
(2) Place the lower No. 1 instrument panel airbag assembly in a plastic bag, tie it tightly and dispose of it according to local regulations.
 Components
 Components
	 On-vehicle Inspection
 On-vehicle Inspection
	 Removal
 Removal
	 Installation
 Installation