REMOVAL
CAUTION / NOTICE / HINT
HINT:
PROCEDURE
1. REMOVE NO. 3 DECK BOARD SUB-ASSEMBLY
Click here .gif) 
 
2. REMOVE REAR DECK FLOOR BOX
Click here .gif) 
 
3. REMOVE DECK FLOOR BOX LH
Click here .gif) 
 
4. PRECAUTION
CAUTION:
Be sure to read Precaution thoroughly before servicing.
Click here .gif) 
 
NOTICE:
After the power switch is turned off, there may be a waiting time before disconnecting the negative (-) auxiliary battery terminal.
Click here .gif) 
 
5. DISCONNECT CABLE FROM NEGATIVE AUXILIARY BATTERY TERMINAL
CAUTION:
Wait at least 90 seconds after disconnecting the cable from the negative (-) auxiliary battery terminal to disable the SRS system.
(a) Loosen the nut and disconnect the cable from the negative (-) auxiliary battery terminal.
6. REMOVE FRONT DOOR TRIM COVER LH
Click here .gif) 
 
7. REMOVE FRONT DOOR INSIDE HANDLE BEZEL PLUG LH
Click here .gif) 
 
8. REMOVE POWER WINDOW REGULATOR MASTER SWITCH ASSEMBLY WITH FRONT DOOR ARMREST BASE PANEL (for Driver Side)
Click here .gif) 
 
9. REMOVE POWER WINDOW REGULATOR SWITCH ASSEMBLY WITH FRONT DOOR ARMREST BASE PANEL (for Front Passenger Side)
Click here .gif) 
 
10. REMOVE FRONT DOOR TRIM BOARD SUB-ASSEMBLY LH
Click here .gif) 
 
11. REMOVE DOOR SIDE AIRBAG SENSOR LH
(a) Check that the power switch is off.
(b) Check that the cable is disconnected from the negative (-) auxiliary battery terminal.
CAUTION:
Wait at least 90 seconds after disconnecting the cable from the negative (-) auxiliary battery terminal to disable the SRS system.
(c) Disconnect the airbag connector.
NOTICE:
When disconnecting any airbag connector, take care not to damage the airbag wire harness.
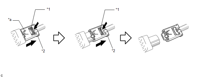
(1) Push down the housing lock and slide the CPA. (At this time, the airbag connector cannot be disconnected yet.)
(2) Push down the housing lock again and disconnect the airbag connector.
NOTICE:
Do not push down the upper part of the CPA shown in the illustration when disconnecting the airbag connector.
.png) 
 | *1 | Housing Lock | *2 | CPA | 
| *a | CPA Upper Part | - | - | 
| (d) Remove the bolt. NOTICE: 
 | 
 | 
(e) Detach the guide and remove the door side airbag sensor LH.
 Installation
 Installation
	 Components
 Components
	 How To Proceed With Troubleshooting
 How To Proceed With Troubleshooting
	 Problem Symptoms Table
 Problem Symptoms Table