Lexus NX: Installation
INSTALLATION
CAUTION / NOTICE / HINT
HINT:
Perform "Inspection After Repairs" after replacing the fuel pump.
Click here
PROCEDURE
1. INSTALL FUEL SUCTION TUBE ASSEMBLY
(a) Install a new gasket onto the fuel suction tube assembly.
| (b) With the paint mark facing the top of the vehicle, connect the fuel hose to the fuel suction tube assembly and secure the hose with the clamp. | | | *1 | Fuel Hose | | *a | Paint Mark | | *b | Top of Vehicle | | |
(c) Install the fuel suction tube assembly to the fuel tank assembly.
NOTICE:
Be careful not to damage the fuel suction tube assembly.
2. INSTALL FUEL TANK VENT TUBE SET PLATE
(a) Install the fuel tank vent tube set plate with the 8 bolts.
Torque:
6.0 N·m {61 kgf·cm, 53 in·lbf}
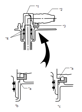
3. CONNECT FUEL TANK MAIN TUBE SUB-ASSEMBLY
(a) Connect the fuel tank main tube sub-assembly to the fuel suction plate sub-assembly, then install the tube joint clip.
| *1 | Fuel Tube Joint |
| *2 | Fuel Tank Main Tube Sub-assembly |
| *3 | Tube Joint Clip |
| *4 | O-Ring |
| *a | Collar |
| *b | CORRECT |
| *c | INCORRECT |
-
Check that there are no scratches or foreign objects on the connecting parts.
-
Check that the fuel tube joint is inserted securely.
-
Make sure that the fuel joint clip is above the flange of the fuel tank main tube sub-assembly.
-
After installing the tube joint clip, make sure that the fuel tank main tube sub-assembly cannot be pulled out.
-
Be careful not to damage the tube joint clip. If the tube joint clip is damaged, replace it.
4. INSTALL FUEL TANK ASSEMBLY
Click here
READ NEXT:
ComponentsCOMPONENTS ILLUSTRATION *1 FUEL PUMP CONTROL ECU ASSEMBLY *2 PARKING BRAKE ECU ASSEMBLY N*m (kgf*cm, ft.*lbf): Specified torque - - RemovalREMOVAL PROCEDURE 1. REMO
ComponentsCOMPONENTS ILLUSTRATION *1 FUEL SENDER GAUGE ASSEMBLY - - N*m (kgf*cm, ft.*lbf): Specified torque - - RemovalREMOVAL PROCEDURE 1. REMOVE FUEL TANK ASSEMBLY Click he
SEE MORE:
DESCRIPTION According to the map light assembly (slide roof switch) operation, the sliding roof drive gear sub-assembly (sliding roof ECU) operates its built-in motor. Using the map light assembly (slide roof switch), if the roof glass can be operated normally when 43 seconds or more have elapsed af
INSTALLATION PROCEDURE 1. INSTALL RADIO SETTING CONDENSER (a) Attach the claw to install a new terminal cover to the wire harness. NOTICE:
Make sure to hold the crimping side of the terminal when installing the wire harness to the terminal cover.
Make sure not to bend the exposed wire when
© 2016-2025 Copyright www.lexunx.com
